诚信
共享
专业
开放
公司估价
免费发布
帮助中心
用户登录
经纪人登录
首页
公司转让
其他转让
知识产权转让
需求大厅
代办大厅
交易数据
新闻资讯
商务合作
联系我们
免费发布
买
我 要 买
卖
我 要 卖
转
知识产权
诚信
担保,无后顾之忧
Good faith guarantee, no worries
您当前所在的位置:
企转转
>
行业新闻
>
疯传!48岁赵薇,一切都结束了......
疯传!48岁赵薇,一切都结束了......
2024-04-18
|
17635
小燕子赵薇又刷屏了。
4月16日下午开始,赵薇名下股权再遭冻结的消息,席卷互联网;现在已经被多家官媒跟进报道。
赵薇这个事情之所以能刷屏,要想理清楚,其实要把这几年赵薇做的事,犯下的错,一起练起来看,才能说清楚。
我尽量长话短说,简单串联起来说清楚:
1,
赵薇以前一直都是风生水起,但是2016年却突然犯下众怒,直接被全网封杀。
原本在那一次封杀之前,赵薇的风光,几乎称得上是娱乐圈的一姐;因为当时的她太厉害了。
当时的她跟其他演员明星完全不同,其他明星演员,几乎都是靠娱乐圈,演艺,表演赚钱。
她除了演戏赚钱以外,她还在投资圈混的风生水起;举一个最简单的例子,比如当年马云的阿里影业要登陆港股;
赵薇夫妇就利用跟马云的朋友关系,在上市前投资了阿里影业,成为了阿里的股东;
等到阿里影业在香港股市上市后,他们夫妻在阿里影业高价的时候,一举套现,轻松获利数亿!!
像这样的操作,比比皆是。这位女星很多人说,她在投资领域赚的钱,或者说在股市捞的钱,比做演员的时候,更猛烈无数倍。
然而,或许是这样的捞钱方法来的太轻松,赵薇开始对法律失去了敬畏,开始铤而走险。
2016年,赵薇夫妻二人,故技重施,再次杀进股市,意图再捞一笔。而且是50倍杠杆的超级加倍赌局!
具体的情况是这样的:赵薇夫妇旗下的龙薇传媒高调宣布:将出资30亿收购上市公司
万家文化
29%的股权,交易完成后,赵薇将成为最大控股股东。
但没想到,随后媒体爆出来,在这笔天价收购案中,赵薇夫妻的自有资金竟然只拿出来6000万,剩下的全部都是借款,贷款;
杠杆比例超过50倍。。。
这种情况,证监会一眼就看出来猫腻,这不明显就是赵薇夫妇搞一个空壳公司,然后利用明星影响力,光环;弄一个高达50倍的杠杆;
企图想通过6000万,就控制一家市值这么大的上市公司,这不是典型的“空手套白狼”、弄虚作假吗?
这种行为,典型的就是空手套白狼!
利用空壳公司,来股市赚钱,想割韭菜。在一个公司股价低的时候,拿下最大股东,股权;然后择机公布自己入主,释放各种利好信号;拉高股价;
最后清空股份,卖掉股票套现;最后自己赚大钱,再分一些利息给各种借钱的机构;大家一起吃肉,最终由散户买单。
结果,赵薇的这个把戏,一下子就被证监会看透了,空壳公司被拆穿了,赵薇慌不择路地跑掉了。。。
那一年发生的事情,至今很多人都难忘。真的无数无数的股民当时都被他们夫妇二人,耍得团团转,财富灰灰湮灭,烟消云散。
赵薇夫妇的圈钱套路,空壳公司被媒体曝光后,无数股民,一夜之间损失惨重。
赵薇此举,无疑是碰了法律的底线。
最后2018年,赵薇正式接到证监会罚单。
当年4月11日,证监会发布了《行政处罚决定书》及《市场禁入决定书》,对万家文化、龙薇传媒责令改正,给予警告,并分别处以60万元罚款;对孔德永、黄有龙、赵薇、赵政给予警告,并分别处以30万元罚款,对黄有龙、赵薇、孔德永分别采取5年证券市场禁入措施。
随后,赵薇的行为被全网曝光,开始被无数人痛骂,封杀,然后微博超话被封,作品下架,查无此人。
2,从2018年封杀算起,到现在差不多6年。
这6年,没有哪个导演,敢再给她资源拍戏;没收入的同时,商业上也开始频频亏损,走下坡路。
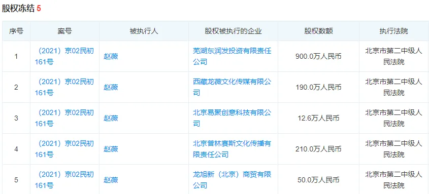
比如,今天被全网刷屏的这个公司,赵薇旗下的这个公司,就因为被北京市第四中级人民法院,强制执行,而冲上热搜。
不仅如此,我刚去搜索了一下赵薇的执行案件;我发现最近几年赵薇已经被执行了很多很多。
仅仅北京市第二中级人民法院就执行了5起以上的关于赵薇的诉讼。
这些加一起都已经执行金额高达几千万了!!
不仅如此,这几年除了上面这些没钱支付,被法院强制执行的公司,赵薇其他的商业版图也不尽人意。
天眼查的资料显示,这几年赵薇的很多公司,都已经名存实亡,要么退股,被赶出股东行列;
要么公司就被吊销,注销掉了。
基本上可以说,自从6年前被封杀之后,赵薇不但娱乐圈赚不到钱了,其他的捞钱路子也捞不到钱了。。
3,有意思的是,前段时间网传赵薇马上要复出。
这不是空穴来风,我去看了一下,赵薇的微博确实更新了某些动态。
被传“封杀”的小燕子赵薇的微博账号确实最近出现了蠢蠢欲动的迹象。
在其个人介绍一栏中,赫然出现了“代表作《还珠格格》《画皮》等字样,这种突然更新,有点好像要“解冻”的迹象被很多网友,以及八卦媒体称作可能是为复出投石问路 。
确实!以前所有介绍都被清空了,去网上连她以前的电视影视作品都找不到了。
最近她的团队,确实有点开始投石问路,试图酝酿回归。
但,我只能说她的团队,想的太天真了!!
4,互联网是有记忆的,对艺人来说更是应当严于律己。
包括赵薇2016年干的股市割韭菜的事情,包括年轻时候,2001年12月,赵薇在纽约街头,穿着印有巨型日本军旗的服装大走其秀,并拍下多张照片,刊登于时尚杂志,被全国观众疯狂辱骂的事情。
这些事情,做为一个娱乐圈的公众人物,根本就无法洗白!!
都是永久被定格在互联网上!!
现在的赵薇风评已经完全跟以前的小燕子赵薇不同了,经过互联网的发酵,人人知道了她是个什么样的人;
她的形象已经急转直下,从人见人爱的一线明星,到名声臭不可闻的过街老鼠。
不出意外,小燕子这趟回归之旅,我估计不会那么容易,甚至可能会引发更多力量参与到对他的狙击当中。
真的,一切都结束了!
48岁的赵薇,结局几乎是必然的!!
其实你们看今天赵薇股权被冻结,一下子吸引了无数官媒第一时间报道就看得出态度了;
不但把这次股权冻结的事情爆出来,还把过去几年赵薇商业受挫,频频被强制执行,无戏可拍,没钱赚了的事情爆出来。
就这情况,6年隐形被封杀,自己又凭实力赚不到钱,年年亏损,被强制执行,又没钱了。
然后就又开始想歪点子,想复出了!!
怎么??你还想重新演戏?做演员?
呵呵。。
这明摆着就是过去舒舒服服赚了十几年快钱,现在这6年开始过起了赚钱难的苦日子,然后就想重新捡起镰刀,想再一次出来割韭菜呗!
这种心思,网友们都说,隔着屏幕都看得出来。。
真的,奉劝这位!人啊,不能太贪太滑太聪明了,真要以为天底下就自己一人绝顶聪明?
需知!聪明过头了,老天都会收了你。
“上天在惩治一个人之前,会先让他得意一阵,过上一段太平日子。
这样在他遭到报应时,才会有切肤之痛。”
——盖乌斯·尤里乌斯·恺撒
人生其实就是一场修行,浮浮沉沉,万事皆有因果!
每个人能走多远的路,最终取决于他的修养深度!
试看,小燕子赵薇!
从一夜爆红,享受全国人民喜爱到如今40多岁人人喊打喊杀,
就连想复出,投石问路,都只有几个偷偷摸摸的八卦小自媒体敢偷偷的报道,放出一点小风声。
结果还没开始,就又立马爆出来股权被冻结,被法院强制执行,而且还爆出最近几年,赵薇的一堆公司被强制执行,没钱了。
这还没复出,就被一堆官媒疯狂报道,彻底再次扼杀,彻底断了她再次东山再起的梦。
48岁的赵薇,终究走到了这一步!
互联网是有记忆的,
赵薇的复出梦,今天彻底碎了,这件事告诫了所有人娱乐圈的人。
做为演员,明星,艺人等等公众人物,真的一定要严于律己!!
上一篇:
割完韭菜负债上百亿,他坐着私人飞机颠儿了
下一篇:
一分钟售罄!华为官宣→
推荐新闻
2026-02
18
湖北宜城爆竹店爆炸已致12死
371
湖北宜城爆竹店爆炸已致12死
2026-02
18
字节跳动最可怕的地方,在于它正在用一套全新的逻辑,同时冲击腾讯、阿里、美团、拼多多这四家公司的核心壁垒
292
字节跳动最可怕的地方,在于它正在用一套全新的逻辑,同时冲击腾讯、阿里、美团、拼多多这四家公司的核心壁垒
2026-02
18
宇树科技相关概念股简单整理
223
宇树科技相关概念股简单整理
2026-02
18
中国十大最具幸福感城市排名
417
中国十大最具幸福感城市排名
2026-02
182026-02
182026-02
182026-02
18